Penyedia Alat-alat Tehnik, Alat Ukur, Laboratorium,Alat Listrik, Alat Survey,Safety dan Lain-lain



Spesifikasi Sirine Lk Jdw 450



Hasil gambar untuk jual lk jdw 450Spesifikasi Sirine Lk Jdw 450

Kinerja Parameter :

Penilaian Suara : 134 ± 2Db ( A) @ 1M
 Motor Listrik: 7.5Kw , 380/400/440V Ac , 50/60Hz
Ip Rating: Ip44
Frekuensi Output: 500/560 ± 20Hz 586/644 ± 20Hz
Hasil gambar untuk jual lk jdw 450Dual Tone
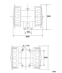
Berat Bersih : 147Kg
Karton/BOX Ukuran : 75X63x71cm




Pemasangan horisontal
Didukung oleh motor tiga fase
Dirancang untuk atap atau tiang pemasangan



 Sirine Lk Jdw 450 Dapat diaplikasikan di :

 Sistem peringatan pertahanan sipil dari kota-kota besar di seluruh dunia, Sistem peringatan kebakaran dari masyarakat , pabrik utama ,
 tambang , bangunan , hutan , dll peringatan untuk bencana alam gempa bumi , tsunami , banjir, peringatan untuk kecelakaan waduk ,
 bendungan , penjara , bandara , militer , pertanian dan padang rumput , dll . 
Hasil gambar untuk jual lk jdw 450



Artikel Produk Terkait, silahkan cek Indotama Sirine